彈性套柱銷聯軸器
時間:2020-06-03 09:59來源:未知 作者:www.orthodontists-seattle.com 點擊:次
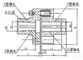
TL(LT)型彈性套柱銷聯軸器 特點及應用場合:具有補償兩軸線相對偏移和減振、緩沖性能,結構簡單,制造容易,不需潤滑,維修方便,徑向尺寸較大,適用于安裝底座剛性好,對中精度較高,沖擊載荷不大,對減振要求不高的軸系傳動,適用范圍廣泛,是我國早期通用標準聯軸器。不適用于高速和低速重載工況條件。
TL(LT)型--基本型;
TLL(LTZ)型--帶制動輪型;
|
型號
|
公稱扭矩
N.m
|
許用轉速rpm
|
軸孔直徑
d1、d2、dz
|
軸孔長度
|
D
|
A
|
S
|
許用補償量
|
重量
kg
|
轉動慣量
kg.m2
|
Y型
|
J J1 Z型
|
徑向
|
角向
|
鐵
|
鋼
|
鐵
|
鋼
|
L
|
L1
|
L
|
|
|
|
TL1(LT1)
|
6.3
|
6600
|
8800
|
9
|
9
|
20
|
14
|
|
71
|
18
|
3
|
0.2
|
1°30'
|
1.16
|
0.0004
|
10、11
|
10、11
|
25
|
17
|
|
12
|
12、14
|
32
|
20
|
|
TL2(LT2)
|
16
|
5500
|
7600
|
12、14
|
12、14
|
32
|
20
|
|
80
|
18
|
3
|
0.2
|
1°30'
|
1.64
|
0.0001
|
16
|
16、18、19
|
42
|
30
|
42
|
TL3(LT3)
|
31.5
|
4700
|
6300
|
16、18、19
|
16、18、19
|
42
|
30
|
42
|
95
|
35
|
4
|
0.2
|
1°30'
|
1.9
|
0.0002
|
20
|
20、22
|
52
|
38
|
52
|
TL4(LT4)
|
63
|
4200
|
5700
|
20、22、24
|
20、22、24
|
52
|
38
|
52
|
106
|
35
|
4
|
0.2
|
1°30'
|
2.3
|
0.004
|
|
25、28
|
62
|
44
|
62
|
TL5(LT5)
|
125
|
3600
|
4600
|
25、28
|
25、28
|
62
|
44
|
62
|
130
|
45
|
5
|
0.3
|
1°30'
|
8.36
|
0.011
|
30、32
|
30、35
|
82
|
60
|
82
|
TL6(LT6)
|
250
|
3300
|
3800
|
32、35、38
|
32、35、38
|
82
|
60
|
82
|
160
|
45
|
5
|
0.3
|
1°00'
|
10.36
|
0.026
|
40
|
40、42
|
112
|
84
|
112
|
TL7(LT7)
|
500
|
2800
|
3600
|
40、42、45
|
40、42、48、48
|
112
|
84
|
112
|
190
|
45
|
5
|
0.3
|
1°00'
|
15.6
|
0.06
|
TL8(LT8)
|
710
|
2400
|
3000
|
45、48、50、55
|
45、48、50、55、56
|
112
|
84
|
112
|
224
|
65
|
6
|
0.4
|
1°00'
|
25.0
|
0.13
|
|
60、63
|
142
|
107
|
142
|
TL9(LT9)
|
1000
|
2100
|
2850
|
50、55、56
|
50、55、56
|
112
|
84
|
112
|
250
|
65
|
6
|
0.4
|
1°00'
|
30.9
|
0.20
|
60、63
|
60、63、65、70、71
|
142
|
107
|
142
|
TL10(LT10)
|
2000
|
1700
|
2300
|
63、65、70、71、75
|
63、65、70、71、75
|
142
|
107
|
142
|
315
|
80
|
8
|
0.4
|
1°00'
|
65.0
|
0.65
|
80、85
|
80、85、90、95
|
172
|
132
|
172
|
TL11(LT11)
|
4000
|
1350
|
1800
|
80、85、90、95
|
80、85、90、95
|
172
|
132
|
172
|
400
|
100
|
10
|
0.5
|
0°30'
|
122.6
|
2.06
|
100、110
|
100、110
|
212
|
167
|
212
|
TL12(LT12)
|
8000
|
1100
|
1450
|
100、110、120、125
|
100、110、120、125
|
212
|
167
|
212
|
475
|
130
|
12
|
0.5
|
0°30'
|
219
|
5.0
|
|
130
|
252
|
202
|
252
|
TL13(LT13)
|
16000
|
800
|
1150
|
120、125
|
120、125
|
212
|
167
|
212
|
600
|
180
|
14
|
0.6
|
0°30'
|
426
|
16.0
|
130、140、150
|
130、140、150
|
252
|
252
|
252
|
160
|
160、170
|
302
|
242
|
302
|
|
注:1.表中聯軸器重量按軸孔的最小直徑和****長度計算。
2.短時過載不得超過公稱扭矩值的2倍。
3.軸孔型式及長度L、L1可根據需要選取。
4.轉動慣量為近似值。
------分隔線----------------------------
推薦產品